This website uses cookies This website uses cookies to improve user experience. By using our website you consent to all cookies in accordance with our Cookie Policy. Read more
How To Guide - Mortice Locks
Make the right choice with our Mortice Lock Guides
Mortice locks are commonly used on timber doors in the UK and trying to find a replacement can be tricky, especially when considering the various measurements and features you need for your specific requirement.
Lucky for you, we've put together a range of useful guides to help you choose the right mortice lock for your door.
Can't find an answer to your Mortice Lock quandry? Why not get in touch, we're more than happy to answer any questions you may have.
Click Here to view the different options of mortice locks we have available for same day despatch.
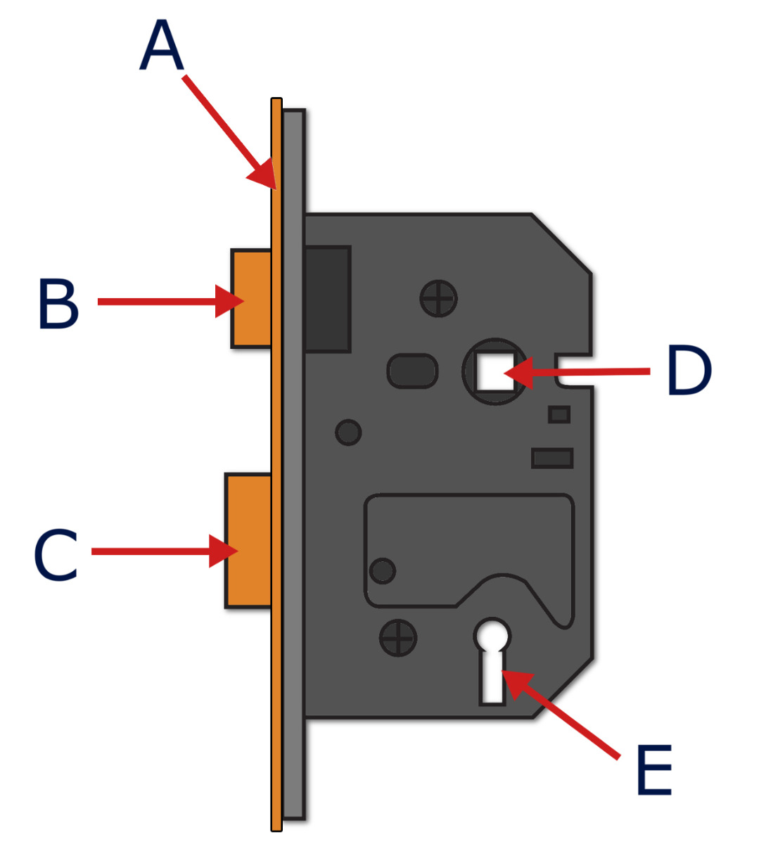
Mortice Lock Terminology
Deadlocks have a single deadbolt (which is usually operated by a key) and no latch. Sashlocks on the other hand, also have a single deadbolt (which is again, generally operated by a key) and a latch (which is usually operated by door furniture).
|
![]() |
How to Measure Deadlocks
|
![]() |
How to Measure Sashlocks
|
![]() |
Mortice Lock Maintenance
Mortice locks are designed to be very low maintenance and will usually give you many years of care free service however over time a build up of dust and dirt can start to have a detrimental effect on the internal locking mechanisms or the internal levers can start to wear out.
You should not used a standard liquid based lubricant such as WD40, the wet oil mixes with the dust and clogs the mechanism up, if lubricant is required than a specialist dry graphite based products or a Teflon based spray such as Interfoln. As mortice locks are quite complex and difficult to re-assemble it is not recommended to open them up, with the door open simply depress the latch and with a straw nozzle, spray the lubricant inside and then work the mechanism several times to dispurse.
Mortice Lock Selection
Choosing the right mortice lock for your application is of paramount importance, there are many factors to consider however below are the main points.
1) Fit For Purpose
- Sometimes you may have limitations as to what mortice lock you can choose.
- Is the door thick enough to be morticed out?
- Does it need to match existing door furniture?
- Does it need to fit the hole in the door that has already been prepared (especially important for lock replacement)?
2) Security Level
- When looking for a mortice lock you need to consider how well it needs to stand up to types of attack.
- If you have the best mortice lock money can buy there will be virtually no security benefit if it is fitted on a flimsy door or frame, security is only as good as its weakest component and so the whole solution needs to be considered.
- On external wooden doors you must install a British Standard mortice lock for insurance purposes.
- Often the mortice lock is secure however the frame or hinges are vulnerable, if you are unsure it may be worth investigating hinge bolts and door frame re-inforcers.


